歡迎來訪東莞羞羞答答在线观看羞羞漫画WWW成人漫画樱缸廠家品牌網站!

羞羞答答在线观看32年專注氣動液壓設備

ISO9001認證羞羞漫画WWW成人漫画樱缸廠家
全國定製谘詢熱線
0769-23103048
羞羞漫画WWW成人漫画樱缸設備行業優選品牌!

產品中心

Contact Hotline

0769-23103048 0769-23103048
聯係羞羞答答在线观看

免費熱線:400-833-2669

固定電話:0769-23103048(楊小姐)

固定電話:0769-22013249(楊先生)

公司傳真:0769-23109526

  • 產品名稱:3T直聯式伺服電動缸
  • 電缸缸徑:63、80、100、125mm;

    有效工作行程:1200mm;

    最高運行速度:250mm/s;

    重複定位精度:±0.02mm;

    有效負載質量:1000-3500KG;

    馬達選配:AC交流伺服1000W-7500W;

    減速機裝配:3:1、4:1、5:1、6:1、7:1、8:1、9:1、10:1、12:1、15:1、20:1

    出力噸位選擇:1噸、3噸、5噸、10噸

    羞羞答答在线观看廠家直銷,1年免費保修,非標定製!

在線聯係

3T直聯式伺服電動缸

【3T直聯式伺服電動缸產品優勢】:


3T直聯式伺服電動缸為羞羞答答在线观看廠家非標定製產品,出力3噸,產品優勢:
1、極鋼結構本體,外部拉杆式結構設計,垂直使用時負載能力極強。
2、高負載,高精度定位特性;精密行星滾性絲杆驅動。
3、結構緊湊,底座雙軸承結構設計導向精度高。
4、極高使用壽命;8000KM以上,產品質保1年。

【3T直聯式伺服電動缸結構組成】:


電動缸結構組成
【3T直聯式伺服電動缸選型】:


1、電動缸出力噸位(   )噸。
2、電動缸行程(   )mm。
3、電動缸工作速度(   )mm/s。
4、重複位置精度要求(   )mm。
5、推杆連接方式(內螺紋、外螺紋、關節軸承)。
6、缸體連接方式(前法蘭、後法蘭、鉸接)。   

【電動缸規格及常見形式】:


電缸型號規格
電動缸常見形式

3T直聯式伺服電動缸獨有優勢】:


不需要複雜的成套係統支持 (包括泵,管道,閥門,過濾器,很多接頭等);

可以節約很多的空間,而且在無維護的情況下,安全可靠的工作;

沒有油汙的汙染,大幅度降低噪音,保持潔淨安靜的工作環境。

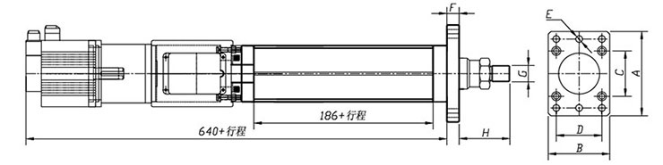
3T直聯式伺服電動缸外觀尺寸圖】:


3噸直聯式電動缸安裝外觀尺寸圖

3T直聯式伺服電動缸安裝尺寸表】:


3噸直聯式電動缸安裝尺寸表


關於羞羞答答在线观看
  
   東莞市羞羞答答在线观看氣動液壓設備有限公司是一家30年專注研發生產製造羞羞漫画WWW成人漫画樱缸、羞羞漫画WWW成人漫画樱器、羞羞漫画WWW成人漫画樱機、漫画羞羞免费、倍力氣缸等氣液轉化元件之相關高新科技企業,擁有行業內完善的行業綜合羞羞动漫免费观看,幫助過3000多家企業進行了針對性產品定製,服務過上萬家客戶。
 

羞羞答答在线观看廠家
 

  司1992年成立於台灣省新竹縣。擁有一批資深的研發團隊,專業致力於氣液轉化元件的研發與生產。經多年磨練,現公司研發產品有:羞羞漫画WWW成人漫画樱缸、羞羞漫画WWW成人漫画樱機、氣液壓力機、羞羞漫画WWW成人漫画樱器、空氣增壓泵、倍力氣缸、電動缸、伺服壓力機等係列氣動液壓設備。該類產品均采用現代先進設備(CNC)製造,配選日本,意大利等知名品牌密封件,其設計新穎,性能獨特,所生產產品均能達到“出力大,速度快,精度高,壽命長,無泄漏,節能源”等優點。

羞羞答答在线观看優勢

羞羞答答在线观看4大優勢

榮譽資質

羞羞答答在线观看公司營業執照質量管理體係認證證書中國羞羞漫画WWW成人漫画樱缸優選品牌
聯係羞羞答答在线观看

  

  東莞市羞羞答答在线观看氣動液壓設備有限公司

  谘詢熱線:400-833-2669

  電話:18925544859黃小姐

  傳真:0769-23109526

  郵箱:jiurong.good@163.com

  網址:www.sdlbb.com,www.jrzyq.com,www.twjiurong.com

  地址:廣東省東莞市東城街道峽口沙嶺工業西路21

上一個產品: 沒有了
下一個產品:1.5T電缸伺服壓力機
版權所有@1992年~2023年 東莞市羞羞答答在线观看氣動液壓設備有限公司 東莞羞羞答答在线观看羞羞漫画WWW成人漫画樱缸品牌
電話:0769-23103048、0769-22013249、傳真:0769-23109526
聯係QQ:2850850515(楊小姐)、2850850511(黃小姐)、2850850512(李小姐)、2850850514(秦先生)
東莞羞羞答答在线观看羞羞漫画WWW成人漫画樱缸廠家地址:廣東省東莞市東城街道峽口沙嶺工業西路21號 郵政編碼:523115
  • 羞羞答答在线观看官方微信
谘詢熱線:
0769-23103048
郵箱:jiurong.goog@163.com
備案號: 粵ICP備24416880號        粵公網安備: 44190002006970號        版權所有:東莞市羞羞答答在线观看氣動液壓設備有限公司           網站地圖
網站地圖